
Zweiwege-Pneumatik-Regelventil

• Konstruktionsmerkmale:
1. Kompakte Bauweise und geringes Gewicht.
2. Metalldichtung, hohe Zuverlässigkeit und lange Lebensdauer.
3. Programmierbare Durchflusskurve.
4. Hervorragende Durchflusseigenschaften und großer Durchfluss, um den Anforderungen unterschiedlicher Druckunterschiede gerecht zu werden.
5. Hohe Regelgenauigkeit.
6. Der Antrieb ist mit einer mechanischen Hubanzeige und einer Membran ausgestattet, um direkt mit dem linearen Hub zu interagieren.
• Anwendungsbereich:
Weit verbreitet in den Bereichen Textildruck und -färbung, Wasseraufbereitung, Lebensmittelverarbeitung, Elektrizität, Metallurgie, Erdöl, Chemie und anderen Bereichen.
• Technische Daten:
Nennweite: DN 15–125 mm
Anschlussart: Flanschverbindung
Zylinderform: einfachwirkend (Federrückstellung)
Übertragungsmodus: pneumatischer Membranantrieb
Nenndruck: Pn16
Druckbereich: 0–16 bar
Mittlere Temperatur: -20 °C bis +250 °C
Steuergasdruck: 2,5–6 bar
Sitztyp: geschweißt
Dichtungsmaterial: Metalldichtung
Steuergas: neutrales Gas, Luft
Andere Spezialmaterialien oder spezielle Temperaturen können ebenfalls entsprechend den Anforderungen des Kunden ausgewählt werden.
Optional:
- Steuerfunktion: normal offen
- PPS-Antriebsgehäuse für Umgebungstemperaturen von +5 °C bis +80 °C
- Einfachwirkender Federantrieb
- Elektronische Stellungsrückmeldung
- Unabhängig einstellbare Hubbegrenzung für hohen und niedrigen Durchfluss
- Namur-Adapter für Vorsteuerventil
• Werkstoffe der Hauptteile:
Gehäusewerkstoff: AS216 WCB Edelstahl AS351 GB/T12230 CF8 CF8M
Kunststoffsitzmaterial: PTEF-Gummi
Spule: AS351 GB/T12230 CF8M
Dichtung: Legierung, Graphit Teflon EPDM
Pneumatikvorrichtung: Teile aus Aluminiumdruckguss oder Kohlenstoffstahl
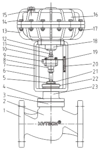
Schematische Darstellung eines pneumatischen Zweiwege-Steuerventils


Schematische Darstellung der Hauptabmessungen eines Zweiwege-Flüssigkeitsregelventils

Hauptmaßtabelle und Produktmodellbeschreibung

Zweiwege-Pneumatik-Flüssigkeitsregelventil


Zurück zu der Übersicht der Ventile

|